蓝牙研发网

 找回密码
 注册

QQ登录

只需一步,快速开始

搜索
蓝牙研发网 主页 文章 技术文章 查看内容

AirPods无线立体声耳机的技术创新看点

2017-12-1 08:12| 发布者: 乘风| 查看: 8874| 评论: 0

摘要: 1、AirPods未来的几大升级方向  从苹果储备的各类专利来看,AirPods目前还仅仅是一个入门级产品,未来具备非常大的升级空间,运动检测、健康检测、生物识别以及更加可靠的佩戴方式、无线充电等都将是布局的方向。 ...
1、AirPods未来的几大升级方向

  从苹果储备的各类专利来看,AirPods目前还仅仅是一个入门级产品,未来具备非常大的升级空间,运动检测、健康检测、生物识别以及更加可靠的佩戴方式、无线充电等都将是布局的方向。

  苹果2016年9月递交了三份专利,题目都是“具有生物识别感应功能的耳机”,透露了AirPods未来可能的几大升级方向。

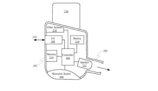
  第一项专利是关于在AirPods这样的入耳式耳机上搭载生物识别技术,解决在与耳机与耳朵接触的表面积太小而且不够稳定,多数情况下难以获得生物识别所需的足够信息的问题。


  这项专利使用了光电容积描记(PPG)传感器。PPG技术是指,将一定波长的光束照到皮肤表面,由于肌肉和血液会使光线衰减,反射回光电接收器的光线将减弱,由此可以检测到脉搏血流的变化。一些利用手机摄像头测量心率的app就用的是这项技术,Apple Watch也是如此。

  为了解决与皮肤接触面积小的问题,苹果把这个传感器放在了靠近扬声器的位置(即下图中204位置)。这样一来,当把扬声器放入耳道时,PPG传感器就可以与耳屏的整个内表面相接触。此外,还可以在耳机的另一端再安装一个辅助部件,与外耳接触;可压缩变形的辅助部件让传感器更好地贴合不同人的耳型。

  第二份专利材料显示耳机上还会集成多个传感器,包括心率传感器、耗氧量传感器、皮肤电反应传感器、心电图传感器、心阻抗图传感器和温度传感器等。这些传感器相互协作,可以实现心脏、血压等健康指数的监测。

  第三份专利阐述了苹果如何用耳机上的麦克风进行降噪。现有的AirPods使用双麦克风的波束形成技术来消除背景噪声。新专利的技术与此类似,只是多加了一颗麦克风。通过设置,这只耳机可以进行选择性降噪,只接收10至20度范围内的声音,基本相当于人耳与嘴之间的角度,可以应用于通话或者与Siri的语音交互;它还可以被设置为全面降噪,此时所有外界的声音都会被屏蔽,于是佩戴耳机的人在通话中就不会被自己的声音所干扰。此外,苹果的专利材料中还指出,新耳机要设计成对称的外形,这样左右耳都可以方便地互换使用。为此,苹果还使用了专门的传感器,用于检测耳机戴在哪边的耳朵上。

  目前关注度比较高的是AirPods的掉落问题,虽然目前AirPods本身其实掉落几率不大,但是苹果也在通过各种办法进一步提升可靠度,未来我们有望看到新的方案。近期美国专利商标局公布了苹果提交的一项专利申请,未来苹果会利用磁性来加固AirPods 在耳朵上的佩戴。从公布的专利图来看,未来的AirPods 会采用一种完全不同的设计,改为环绕式机械构架,利用两片(磁场)可以穿过耳朵肌肉组织的磁块来防止耳机掉落。

  不仅仅是AirPods耳机本身,AirPods的充电盒也有创新和提升的巨大想象空间,未来有望引入无线充电等新功能,使AirPods充电盒成为众多苹果产品包括手机和手表的充电站。2017年4月份Patently Apple网站公布了苹果关于AirPods充电盒的专利。这份专利描述了AirPods充电盒除了可以给耳机充电外,还能给包括手机手表等设备进行无线充电。这就意味着17年苹果新品加入无线充电后,AirPods充电盒未来有望成为包括苹果手机、Apple Watch和AirPods的充电站。

  从AirPods可以看出,进入无线立体声时代的耳机内部结构发生了巨大的变化,多种元器件高度集成将加大制造难度和附加值。传统的有线耳机围绕发声单元设计了海绵体、腔体、外壳、滤嘴等结构,仅仅是为了更好的保护发声或保护耳朵,涉及到电子元件的部分很少,仅仅是线材、动圈单元等。但是进入无线时代的耳机,内部结构发生重大变化。由于要加入无线传输、控制、传感、存储、语音等功能,一个典型的TWS耳机内部可能集成了大量的电子元器件,包括天线、各类控制/传输芯片、各类麦克风、各类传感器、存储器等多种器件,复杂度大幅提升。

  三星IconX耳塞在2016年初推出,但在市场很少看到。索尼在2016年2月的移动世界大会上宣布了他们的Xperia Ear。8月再次出现在IFA,但仍然没有上市。苹果在9月推出AirPods,到17年上半年依然发货延期很久,这些都说明大规模生产良好的智能耳机难度较大。

鲜花

握手

雷人

路过

鸡蛋

最新评论

Archiver|手机版|小黑屋|蓝牙研发网 ( 粤ICP备14052215号-1 )

GMT+8, 2026-5-25 15:49 , Processed in 0.046875 second(s), 16 queries .

Powered by Discuz! X3.4

Copyright © 2001-2021, Tencent Cloud.

返回顶部